Smart-enabled products are officially ubiquitous these days. It appears cutting-edge can be integrated into anything we can think of such as cars, appliances, wearables, and more. Meanwhile, documents filed by Microsoft with the United States Patent and Trademark Office reveal fascinating details about what might be the world’s first smart backpack.
The company is leveraging modern manufacturing capabilities wherein powerful computing packages are shipping in the tiniest of form factors. This equates to lesser power requirements, which allows batteries to last longer than ever before. We’re not sure which category a smart backpack falls under, but it can be called a wearable in some context.
As detailed by Microsoft’s papers, this futuristic accessory uses artificial intelligence, internet connectivity, and sensors to gather data from your surroundings. One of its proposed functions is to provide real-time information about your location, destination, and places of interest nearby.
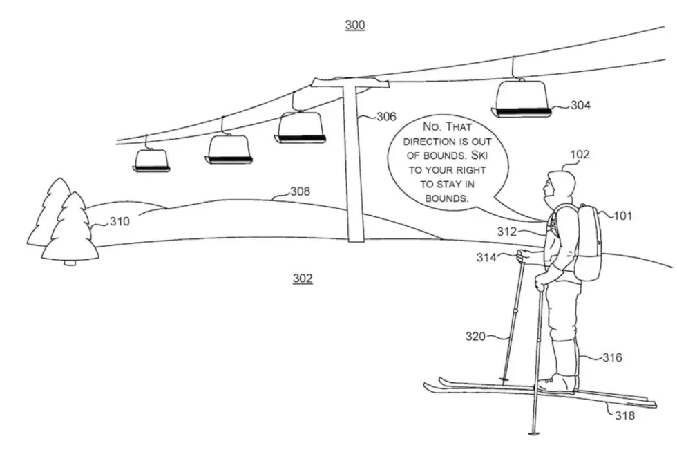
One of the images shows a skier being directed by the smart backpack as to which sections of the slope to avoid. Microsoft notes that advanced object recognition will aid the visually impaired in a variety of ways. It can read out the text or check the price of groceries, for example.
Meanwhile, it will likewise interface with other devices such as your smartphone, smartwatch, laptop, and others. The Data collected could provide users with insights regarding their fitness, sleep quality, and stress levels. Think of it as a central hub for everything related to your health.
Microsoft’s smart backpack will synchronize with your calendar to remind you of upcoming appointments or prompt you when notifications are received. It’s too early to figure out the target demographic, but some believe it could benefit the elderly.
Discover More

Images courtesy of Microsoft/USPTO