Humanitarian equipment is expensive and takes up more than 40% of global humanitarian aid spending. Aside from food, medicine, and other essentials, beds alone can overshoot donation budgets. Even camping beds, which is mostly used by NGOs, are costly and may not be efficient when speed and functionality are required. The Humanitarian Cardboard Bed by Barcelona-based startup Humanitaria, aims to address both but in a cost-effective and sustainable manner.
As its name entails, the bed is made with strong cardboard that can support a max of 350 kilograms, well above the weight cap of 150 kilograms for usual camping beds used by NGOs. Likewise, it is cheaper with 1000 beds costing only USD 16,959 (€16,000) compared to camping beds which can rack up to USD 212,000 (€200,000) for the same quantity.
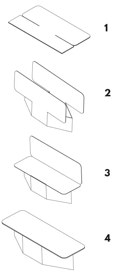
The Humanitarian Cardboard Bed also sets up in five seconds. It starts as an extra-flat cardboard sheet and with a simple lift and fold, like opening a cardboard box, it transforms into a three-dimensional structure with a rigid core. No tools needed and one person can even assemble 700 beds in an hour. Moreover, using cardboard is the cheapest and durable structural material out there that can last long enough to provide aid during humanitarian emergencies.
“It is a fast, versatile and cost-effective solution. It can double the approved strength of a humanitarian bed and provide comfort and shelter in a time of high vulnerability. People can’t believe it when they see five people standing on our bed,” says Héctor Muñoz, head of manufacturing at Humanitaria, which is founded in Barcelona by Juan Sanz and J. Alberto Paniagua.
He tells New Atlas, “It is the fastest, most pluralistic and most economical solution. It was not in our plans to design a product that would last 10 years in perfect condition. Even so, we doubled the approved resistance for a humanitarian bed.”
The Humanitarian Cardboard Bed offers maximum efficiency at minimum cost. It even ships globally in large quantities because it packs flat. Not to mention, it is 100% recyclable and biodegradable.
Check It Out

Images courtesy of Humanitaria